odpružený podvozek

Název je dostatečně samovysvětlující...
Odpovědět
Zpráva
Autor
Uživatelský avatar
xpetr
Příspěvky: 344
Registrován: stř 12.11.2008 0:00
Bydliště: Kralupy
Kontaktovat uživatele:

odpružený podvozek

#1 Příspěvek od xpetr »

Sháním inspiraci na odpružený pevný (ne zatahovací) podvozek pro 6m 15kg.
typ Fox, Swift, ASK21, G-103.
Nějak se mi nedaří nic najít..
(vyrobit, ne koupit)
Naposledy upravil(a) xpetr dne úte 21.02.2017 20:38, celkem upraveno 1 x.
Jantar 3,5m,Biglift 2,8m 80ccm,ASW28 4m,Staudacher O.S.-20ccm, Solius MPX
Uživatelský avatar
tratonah
Příspěvky: 312
Registrován: ned 04.12.2016 18:56

Re: odpružený podvozek

#2 Příspěvek od tratonah »

Uživatelský avatar
xpetr
Příspěvky: 344
Registrován: stř 12.11.2008 0:00
Bydliště: Kralupy
Kontaktovat uživatele:

Re: odpružený podvozek

#3 Příspěvek od xpetr »

ale to nééééé....
Jantar 3,5m,Biglift 2,8m 80ccm,ASW28 4m,Staudacher O.S.-20ccm, Solius MPX
kvak
Příspěvky: 5
Registrován: stř 16.11.2016 20:28

Re: odpružený podvozek

#4 Příspěvek od kvak »

podívej se na HV-Tech mají to tam nafocené.
Uživatelský avatar
xpetr
Příspěvky: 344
Registrován: stř 12.11.2008 0:00
Bydliště: Kralupy
Kontaktovat uživatele:

Re: odpružený podvozek

#5 Příspěvek od xpetr »

to furt není ono, potřebuju aby v "bačkoře" jezdilo kolo nahoru a ne v radiusu.
Přílohy
kolo.JPG
Jantar 3,5m,Biglift 2,8m 80ccm,ASW28 4m,Staudacher O.S.-20ccm, Solius MPX
Uživatelský avatar
tratonah
Příspěvky: 312
Registrován: ned 04.12.2016 18:56

Re: odpružený podvozek

#6 Příspěvek od tratonah »

Já teda nechápu co máš na mysli,ale skutečné ASK má v té bačkoře hlavní kolo na vlečném rameně s centrálním tlumičem jestli si to ještě dobře pamatuji . Někde mám k němu letovou příručku a manuál
Uživatelský avatar
Beep
Příspěvky: 1035
Registrován: stř 06.05.2009 0:00
Bydliště: Nelahozeves
Kontaktovat uživatele:

Re: odpružený podvozek

#7 Příspěvek od Beep »

A co takhle? Přehlídl jsem že nechceš radius.
Přílohy
WP_20131222_010.jpg
Gaui200,Tarot450ProFBL,MinititanV2,TRex500,Raptor50,TZ-V2 Frenzy,TRex700,FutabaT-10C+nějaký letadla
Uživatelský avatar
xpetr
Příspěvky: 344
Registrován: stř 12.11.2008 0:00
Bydliště: Kralupy
Kontaktovat uživatele:

Re: odpružený podvozek

#9 Příspěvek od xpetr »

jo,... nějak se mi to postupně rýsuje v hlavě. Nechtěl jsem to moc vymýšlet, není čas, jaro je za dveřmi. Ale asi to dopadne zase jako obvykle, tj. poraď si sám... Je tam možný zdvih 4cm, ta botka je plná kola, proto ten výkyv se tam moc nevejde..., a velký konstrukce se nevejdou bude tam sedačka a pilotenpuppen.
Jantar 3,5m,Biglift 2,8m 80ccm,ASW28 4m,Staudacher O.S.-20ccm, Solius MPX
Uživatelský avatar
xpetr
Příspěvky: 344
Registrován: stř 12.11.2008 0:00
Bydliště: Kralupy
Kontaktovat uživatele:

Re: odpružený podvozek

#10 Příspěvek od xpetr »

....pěknej odkaz díky, to se hodí. Udělám to obdobně, ale s drážkou a čepy svisle, nahoře kladka a lanko s pružinou a napínákem. Z duralu, zmenšený v měřítku i pro přední menší kolo.
Přílohy
Výstřižek.JPG
Jantar 3,5m,Biglift 2,8m 80ccm,ASW28 4m,Staudacher O.S.-20ccm, Solius MPX
Grugh
Příspěvky: 628
Registrován: ned 24.11.2013 20:19
Bydliště: Praha 10, ČR

Re: odpružený podvozek

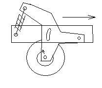
#11 Příspěvek od Grugh »

xpetr píše:....pěknej odkaz díky, to se hodí. Udělám to obdobně, ale s drážkou a čepy svisle, nahoře kladka a lanko s pružinou a napínákem. Z duralu, zmenšený v měřítku i pro přední menší kolo.

A jsi si jistý, že se ti to ve té drážce nebude zasekávat? Ráz nepřijde přímo ze spoda, ale spíš zpředu-zespoda. A pokud síla zpředu příliš přitlačí čep do zadní stěny drážky, tak nahoru se mu nebude chtít.
Koukni se třeba na motorku: přední vidlice je v úhlu, zadní vidlice obvykle kyvné (vlečené) rameno. Oboje je navržené na rázy zpředu-zespoda.
Další problém: jak zajistíš aby se kolo nevyvracelo do strany? Tj. na jedné straně půjde čep nahoru, na druhé zůstane dole?
Být tebou, tak jen trochu upravím původní navrhované řešení. Když posuneš čep, na kterém se mechanizmus otáčí, více dopředu, změní se ti trajektorie pružení podvozku.
Nejsem konstruktér, ale něco jsem naznačil na obrázku.
podvozek.png
podvozek.png (2.79 KiB) Zobrazeno 3479 x

Petr
Uživatelský avatar
xpetr
Příspěvky: 344
Registrován: stř 12.11.2008 0:00
Bydliště: Kralupy
Kontaktovat uživatele:

Re: odpružený podvozek

#12 Příspěvek od xpetr »

bylo by to mezi bočnicema...

je potřeba, aby to vykrylo jen větší rány

s velkým ramenem jsem to zkoušel, ta botka (tj. kolo) je dost dole oproti základnový desce v trupu(dno), navíc je to středoplošník(skoro dolnopnlošník), tak nevychází místo na plynovou pružinu, aby se vzpírala o spojku křídla. Pružiny naležato by se hodily...

Právě , že klasika se tam nevleze viz. obrázky a rádius pohybu.

Udělám si bokorys v 1:1 a nějak to vymyslím....

Hledal jsem vyzkoušená řešení pro v úvodu uvedené vzory.
Přílohy
kolo1.JPG
kolo.JPG
Jantar 3,5m,Biglift 2,8m 80ccm,ASW28 4m,Staudacher O.S.-20ccm, Solius MPX
Uživatelský avatar
tratonah
Příspěvky: 312
Registrován: ned 04.12.2016 18:56

Re: odpružený podvozek

#13 Příspěvek od tratonah »

...............
Naposledy upravil(a) tratonah dne čtv 18.10.2018 19:04, celkem upraveno 1 x.
pavel535
Příspěvky: 36
Registrován: pon 02.06.2014 14:09
Bydliště: Rakovník
Kontaktovat uživatele:

Re: odpružený podvozek

#14 Příspěvek od pavel535 »

Ahoj nemate někdo v archivu planek zatahovacího podvozku s drážkou někde jsem ho měl ale nemužu najít, díky.
Odpovědět

Zpět na „Větroně“