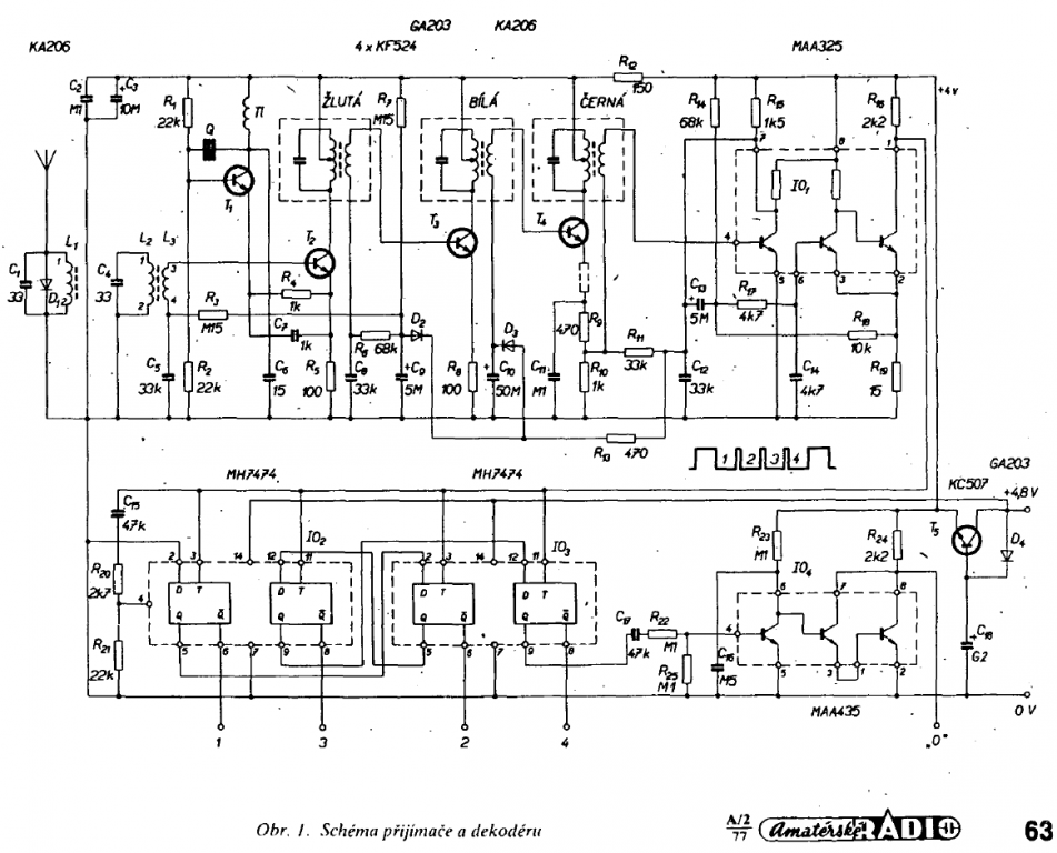
RX MF trafa zapojení primárního vinutí

Přijímače, serva, regulátory, BEC, palubní napájení, ale i telemetrie
Zpráva
Autor
Uživatelský avatar
VTjr
Příspěvky: 7211
Registrován: úte 09.02.2010 0:00
Bydliště: Žilina, SK

Re: RX MF trafa zapojení primárního vinutí

#16 Příspěvek od VTjr »

Moc srozumitelné to není, protože jsi tam nezakreslil ty kondenzátory co jsou v trafech. Jejich primáry jsou paralelní LC obvody, kde jsou původně vyvedeny krajní konce primární civky, tedy i kondenzátoru a plus veprostřed odbočka, a pak 2 konce sekundární cívky. K tomu pak 2 vyvody plechového stínění. Původně na nových, nebo vyletovaných z tranzistiráků. Cvakalo se to kvůli návrhu plošáku, aby bylo více místa pro spoje.

Já jsem našel ta publikovaná zapojení od Svíčky (AR 6-7/1976) i Valenty (MO 7-9/1978), nepletl jsem se, fakt se oba liší v tom, jak využívaji tu odbočku. A stejně to oběma fungovalo. Ovšem s japonskými trafy 8x8mm. Nevylučuji, že mohli existovat typy s víc exentrickou oďbočkou, se kterými by to na obě strany už nefungovalo.

Klišé plošáku svého přijimače jsem ale už nenašel, možná jsem ho někomu dal, nebo založil jinam.
Neviem byť stručný :(, ale mnohé myšlienky sa dvoma slovami povedať nedajú :)
guchar
Příspěvky: 8180
Registrován: čtv 07.05.2015 16:24
Bydliště: ČR

Re: RX MF trafa zapojení primárního vinutí

#17 Příspěvek od guchar »

● @VTjr I když obrázky, co vložil "Honza323" budou hodně ilustrativní, tak na části vlevo odbočka je naznačena mimo střed. Na části vpravo se zdá naznačené umístění odbočky ve středu vinutí.
● Vestavěné kondenzátory v MFTR do schématu (protože nebyly součástkami na desce spojů) nezakreslili.
● Soupravy byly stavěny pro spojení i na stovky metrů. Je tedy možné, že mírná změna citlivosti (odbočka blízko středu) se u spojení na kratší vzdálenost projevovala v téměř nepozorovatelné míře.
sozda
Příspěvky: 178
Registrován: ned 12.01.2014 18:48

Re: RX MF trafa zapojení primárního vinutí

#18 Příspěvek od sozda »

Zdravím, jak píše Ellet o přijímači s A244D zajímalo by mne jaký je tam použitý filtr jestli východoněmecký 455 kHz nebo je tam použitý nejaký "západní" a podle fotky soudím, že jsou tam mf trafa 10x10 mm jedno pro přizpůsobení filtru a to druhé na demodulaci AM signálu.
Co se týká věku jsem o několik málo let (4) mladší než pisatel Honza 323. A znovu bastlit jsem začal po vyklízení pozůstalosti po rodičích kdy jsem narazil na mé staré zásoby součástek a z nostalgie jsem ulátal superreakční přijímač a opravil WP-23-ku. Díka CDčkům z Amara mám celý bohatý archív v počítači a digitálně nahrané ročníky Modeláře takže inspirace mám do konce života. Ať žije bastlení
Ještě ro zajímavost přikládám klišé tišťáku pro přijímač a vysílač. Přijímačové jsou dva jeden pro trafa 7x7 mm a druhé pro MF trafa 10x10 mm s těmi většími tráfky byla prý selektivita i citlivost lepší (agentura JPP, ale chodilo to!)
Přílohy
WP-23_-_klise_pro_vyrobu_PS_legendarni_soupravy_Ing_V_Valenty_dle_navodu_v_Modelari.jpg
guchar
Příspěvky: 8180
Registrován: čtv 07.05.2015 16:24
Bydliště: ČR

Re: RX MF trafa zapojení primárního vinutí

#19 Příspěvek od guchar »

● @sozda Součástky na RC přijímač jsem měl přes inzeráty "nasysleny". Nakonec jsem jej nestavěl. v sadě, co jsem sehnal byl keramický filtr (podle značení) NSR původu. A nebyl tam A244D nýbrž jeho předchůdce zápaďácký přímý ekvivalent TCA440. Čína tehdy ještě nefrčela.
● RC s A244D (než začala frčet FM modulace) taky Analogový přijímač s A244D
Uživatelský avatar
VTjr
Příspěvky: 7211
Registrován: úte 09.02.2010 0:00
Bydliště: Žilina, SK

Re: RX MF trafa zapojení primárního vinutí

#20 Příspěvek od VTjr »

sozda píše:... když se podíváte na zapojení jakéhokoliv přijímače z té doby (inoprop AR 1,2/1977, Fr. Svíčka, AR 1,2 1974 WP 23, Fajtoprop) všechny mají mf. trafa zapojeny stejně ...

Dal jsem si tu práci, prohledal archiv a podrobil všechny 4 konstrukce podrobnějšímu zkoumání.
No a právě že to stejné není, je tam i mnoho nepřesností/chyb. :o

Jediní 2 konstruktéři, kteří to mají stejně a shodně jak ve schématu tak i na plošňáku jsou pan Valenta (WP23 v Modeláři 9/1978 a WP75) a pan Otýs (Inprop AR1-2/1977).
Zde je schéma od Valentu:
RX_sch.png

a zde rozmístění na DPS (žluto jsem vyznačil, že kolektory tranzistorů jsou opravdu všechny spojeny s krajním vývodem cívky a na plus jde vždy odbočka):
RX_dps.png

Zde je schéma od Otýse, kde je to stejně:
RX_sch.png

A zde rozmístění na DPS, kde ty kolektory tranzistorů jsou taky spojeny s krajním vývodem cívky a na plus jde odbočka:
RX_dps.png

Ale u pana Veita (Fajtoprop2 z Modeláře 6/1976) je sice schema stejné (tranzistory T1, T2 a T3 mají koektor přilojen na kraj cívky a odbočka jde na plus):
RX_sch.png

Ale ve skutečnosti je to na plošňáku úplně jinak. Zde jsem taky vyznačil žlutě, a je vidět, že u T1 a T2 je kolektor spojen s odbočkou a kraj cívky jde na plus, ale u T3 jde kolektor na kraj cívky a na plus jde odbočka, čili se jedná o jakýsi mix zapojení, jakoby na tom vůbec nezáleželo. :roll:
RX_dps.png

Nicméně to zřejmě fungovalo. 8)

No a nakonec se podívejme na konstrukci přijímače od pana Svičky (AR 8/1976).
Na schématu je to zase naprosto shodně se všemi, tedy všechny 3 kolektory jdou na konec cívky a odbočka jde na plus:
RX_sch.png

Ale pokud se podíváme na DPS, tak vidíme, že všechny 3 stupně jsou zapojeny naopak, kolektor na odbočku a kraj na plus (zase jsem to zvýraznil žlutě):
RX_dps.png

Ale i to normálně fungovalo (i když mně ne, ale jiným asi ano, ale vlastně i mně ale jako modifikace WP23, viz dále). 8)
Celeron píše:... A dělat přijímač bez stabilizace napájení shift registru jako měl Svíčka je dobrá cesta do pekel.

Je záhodno si povšimnout, že Valenta, Otýs i Veit mají stabilizátor napětí pro VF a MF části, pro TTL obvody dekodéru nikoliv, ale právě u Svíčky je to obráceně, tedy on stabilizuje napětí pouze pro ty TTL. :o Otázkou je co je lepší? :roll:
Osobně si myslím, že jelikož se stabilizací nutně musí napájecí napětí snížit a to už je při 4,8V z 4 NiCd článků samo o sobě dost nízké (tedy nedodrží se pro TTL požadovaných 5V). No a TTL obvody většinou vypovídají službu už někde kolem 4,0V, takže prostor pro stabilizaci je tam minimální, takže zbytečný. Naopak spíš tvarovací obvod a VF/MF stupeň potřebuje stabilní napájení, hlavně aby se omezilo možné rušení servy přes napájení. Takže si myslím, že lepší je dekodér nestabilizovat a VF/MF/Detektor/Tvarovací obvod naopak ano. :wink:
Naposledy upravil(a) VTjr dne pát 24.05.2024 18:32, celkem upraveno 4 x.
Neviem byť stručný :(, ale mnohé myšlienky sa dvoma slovami povedať nedajú :)
Uživatelský avatar
VTjr
Příspěvky: 7211
Registrován: úte 09.02.2010 0:00
Bydliště: Žilina, SK

Re: RX MF trafa zapojení primárního vinutí

#21 Příspěvek od VTjr »

Normálně fungovalo zapojení, kde kolektory šly na odbočku a konec cívky na plus. V mém případě jsem přesně takhle zapojil Valentův WP23, rozšířený na 4 kanály, protože jsem ta trafa vytahal z mnou nepovedené konstrukce podle Svíčky (jednak se mi nelíbila kvůli šmiťáku a nějak mi to ani moc dobře nefungovalo - slabší dosah). Ale nová trafa se mi kupovat nechtělo (krajní vývody jsem už měl nesprávně odcvaknuté a minimálně 100-120Kčs bylo pro mne chudého studenta hodně peněz), tak jsem si navrhnul nový plošňák jednak kvůli těm trafům a taky jsem do něj zapracoval i druhý MH7474, tedy nedával jsem ho "na koně", jak to později radili v Modeláři 11/1979.
A přijímač vypadal takto:
P4200528.JPG

Pro úplnost přidávám i pohled do nitra vysílače, napájeno 10ks akumulátorů VARTA 750mAh, ale původně 10 ks nikláků Bateria 450mAh, dokonce jeden čas i třemi bateriemi 3R12.
Plošný spoj jsem si navrhl taky sám, nelíbilo se mi to rozdělení na 2 desky, co bylo u Svíčky, a plošňák od WP23 jsem taky nemohl beze změn použít, protože já jsem měl o dva kanály víc. Tak jsem si svůj plošňák navrhl tak, aby byl optimálně využit prostor v skřínce. Jinak ten blok akumulátorů se montoval pod ten plošňák (to asi nebylo nejlepší, protože k jejich kontrole byl pak špatný přístup:
P4200514.JPG
Zde je detailnější pohled, kde jsou lépe vidět mnou amatérsky na koleně zhotovené křížové ovladače, jejich tělo je spájeno z cuprextitu, olaminováno a obroušeno, stejně jako celá skříňka vysílače i přijímače:
P4200513.JPG

A to je pohled na TX zvenčí:
P4200523.JPG

A na RX komplet i se 3 servy Futaba FP S-12 a zdrojovou skříňkou Modela pro 4 nikláky:
P4200530.JPG
Naposledy upravil(a) VTjr dne pát 24.05.2024 18:28, celkem upraveno 1 x.
Neviem byť stručný :(, ale mnohé myšlienky sa dvoma slovami povedať nedajú :)
Janek2
Příspěvky: 704
Registrován: pon 29.04.2019 14:30

Re: RX MF trafa zapojení primárního vinutí

#22 Příspěvek od Janek2 »

Honza323 píše:
"Z torza desky přijímače Kraft, které mě zbylo po vypájení MF traf a díky kompletnímu schématu zapojení vysílače a přijímače Kraft, které jsem objevil zde v jednom starším vláknu,....."

Můžeš mě prosím tě uvést to vlákno, na kterém jsi našel schéma toho vysílače a přijímače Kraft?
Díky předem.
Uživatelský avatar
Celeron
Příspěvky: 10855
Registrován: pát 23.04.2010 0:00
Bydliště: Nový Bydžov ČR
Kontaktovat uživatele:

Re: RX MF trafa zapojení primárního vinutí

#23 Příspěvek od Celeron »

Krafta KP5 jsem měl vysílač zreverzovanej do schematu. Ale je to přes 35 let, co jsem to kreslil. A kde to skončilo nevím. Kámoš, co ho měl ho v devadesátkách prodal nějakýmu sběrateli. Kodér to mělo udělanej na 7496 5 bit shift registru. To je asi tak všecko, co si pamatuju.
Uživatelský avatar
Celeron
Příspěvky: 10855
Registrován: pát 23.04.2010 0:00
Bydliště: Nový Bydžov ČR
Kontaktovat uživatele:

Re: RX MF trafa zapojení primárního vinutí

#24 Příspěvek od Celeron »

VTjr píše:Osobně si myslím, že jelikož se stabilizací nutně musí napájecí napětí snížit a to už je při 4,8V z 4 NiCd článků samo o sobě dost nízké (tedy nedodrží se pro TTL požadovaných 5V). No a TTL obvody většinou vypovídají službu už někde kolem 4,0V, takže prostor pro stabilizaci je tam minimální, takže zbytečný.

Mysli si co chceš, Svíčka doporučuje dokonce jen 3,8-4,1V. Já těch 15 ks nastavoval na 4V a šiftění nikdy neselhalo. Kdybych nebyl línej, tak vemu 7474 zapojím ji jako děličku a vyzkouším kam až půjde. Příjímač makal dokonce i na 3 nikláče, ale Futaby S7, 12 a 22 už najely na jeden doraz.
Uživatelský avatar
VTjr
Příspěvky: 7211
Registrován: úte 09.02.2010 0:00
Bydliště: Žilina, SK

Re: RX MF trafa zapojení primárního vinutí

#25 Příspěvek od VTjr »

Já to měl podle Valentu a taky OK. 8)
Pokud jsem padal, tak vždy na ruce, nikdy ne na radio. :!:
Nevím jestli rušeni po napajení od serv rozhodí víc posuvný registr, nebo šmiťak, či jiný tvarovač a detektor. Osobně si myslim, že TTL, jsou vůči tomu odolnější pokud je jejich napájení blokováno nablízko keramikou a tantaly. A ani ty jsem tam neměl vyjma tohojednoho, který definoval časový ramec a nulování registru.
Pŕed cca 25 lety jsem ale v té soupravě vyměnil všechny ty elity plasťaky za tantaly a taky konektory pro moderní serva. To jsem si ještě bláhově myslel, že tu soupravu budu používat. Samozřejmě dnes do letadla ani nahodou, dokonce ani na lodičku, ještě by uplavala.

V souvislosti s tim se mi do klavesnice tlačí takova kacířská otázka: "K čemu to zakladatel vlakna vůbec staví a na co to chce použít?" :o
A to už neřku, že dnes by s legalizací provozu něčeho podobného byl problém. :|
Teda asi je to jen pro nostalgické elektronické cvičení, že? :wink:
Neviem byť stručný :(, ale mnohé myšlienky sa dvoma slovami povedať nedajú :)
Janek2
Příspěvky: 704
Registrován: pon 29.04.2019 14:30

Re: RX MF trafa zapojení primárního vinutí

#26 Příspěvek od Janek2 »

Celeron píše:
"Krafta KP5 jsem měl vysílač zreverzovanej do schematu. Ale je to přes 35 let, co jsem to kreslil. A kde to skončilo nevím."
To nevadí, já si tak z nostalgie rád počtu o těchto věcech.
Honza323
Příspěvky: 153
Registrován: úte 26.03.2019 10:07

Re: RX MF trafa zapojení primárního vinutí

#27 Příspěvek od Honza323 »

Pro Janek2 - Našel jsem to zapojení Krafta na tomto vláknu :
viewtopic.php?f=38&t=80383&start=120
na deváté stránce tohoto odkazu to uveřejnil moderátor serveru jyrry.
Janek2
Příspěvky: 704
Registrován: pon 29.04.2019 14:30

Re: RX MF trafa zapojení primárního vinutí

#28 Příspěvek od Janek2 »

Pro Honza323:
Vřelé díky. Potěšilo mě to. Přeju Ti hezký víkend.
Uživatelský avatar
Celeron
Příspěvky: 10855
Registrován: pát 23.04.2010 0:00
Bydliště: Nový Bydžov ČR
Kontaktovat uživatele:

Re: RX MF trafa zapojení primárního vinutí

#29 Příspěvek od Celeron »

Tak to kolega Zdeněk měl asi nějakou novější verzi KP5. V tom odkazu je na fotce vpravo, dva hranatý křížáky, mezi nima vypínač a měřáček antény (baterky né) a pátá funkce přepínač vlevo od antény. Krabice hliníkovej plech potaženej koženkou. Kodér měl už švába jak jsem psal. Hnalo to 8 ks SC nikláče, GeneralElectric, vydržely od koupě někdy kolem roku 1974 (v tý době se tu dal koupit Graupnerův Terry, do kterýho Krafta nainstaloval) a jely ještě když soupravu prodával, tedy cca 20 let.
Pak jsem mu ještě čistil poťáky serv. Ty byly možná o třetinu, možná čtvrtinu větší, než Futaby.
Uživatelský avatar
VTjr
Příspěvky: 7211
Registrován: úte 09.02.2010 0:00
Bydliště: Žilina, SK

Re: RX MF trafa zapojení primárního vinutí

#30 Příspěvek od VTjr »

I já děkuji za ten odkaz, který si doplním do svého archivu. 8)

Prostudoval jsem si to.
V podstatě superhet je stejný jako u Valentu a Otýse. Ale poučen tím, že nic není jisté a tak jako vypadá, tak by to chtělo vidět i plošný spoj. :wink: Důvod k nedůvěře je ten, že Honzík má trafa podle jeho slov vyletována právě z přijimače Kraft a štípnuté jiné vývody než by měly být podle schématu. :o

Bohužel dekodér tam detailně rozkreslen není, ale podle blokovky nic výjimečného.
Zajímal by mne ale tvarovač (zda je tam šmiťák, nebo něco jiného vyskládaného z L-kových hradel NAND) a taky jak se řeší stabilizace napětí, tedy která čast se tam stabilizuje, zda VF/MF nebo dekoder, či oboji nebo nic. :roll:

A stojí za zmínku, že ve vysílači je výkonový VF zesilovač 2-stupňový, tedy za oscilatorem je klíčovaný budící tranzistor a za ním další výkonový ve třídě C. Ale všechny naše konstrukce publikovane v AR a Mod v letech 1976-79. si vystačí pouze s oscilátorem na KSY62B a klíčováním jednoho výkonového tranzistoru KSY34D, taky pracujícího ve třídě C. Možná to souvisí s tím, že v USA byl povolen vyšši vysílací výkon a u nás ne. :?
Pokud si matně pamatuji ty konstrukce FM souprav publikovaných později v delším seriálu v AR v 80. letech, tak tam výkonnější VF konce už byly dvojstupňové s využitím KF621 nebo KF630.

V přijimači mne zas zaujala možnost toho, že lze buď osadit jeden krystal, nebo modul s přepínatelnymi 2 krystaly, ale ve schématu vysílače nic obdobného není.
Neviem byť stručný :(, ale mnohé myšlienky sa dvoma slovami povedať nedajú :)
Odpovědět

Zpět na „Palubní elektronika“